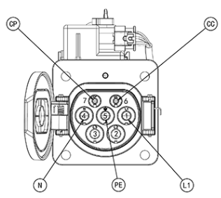
慢充口输入和输出插接器 |
![]() |


| 序号 | 定义 | 说明 |
| 1 | L1 | 交流电源 |
| 2 | L2 | 备用 |
| 3 | L3 | 备用 |
| 4 | N | 中线 |
| 5 | PE | 保护接地 |
| 6 | CC | 连接确认 |
| 7 | CP | 控制确认 |

| 序号 | 定义 | 说明 |
| 1 | PE | 保护接地 |
| 2 | HVIL | 高压互锁回路 |
| 3 | N | 中线 |
| 4 | L1 | 交流电源 |

| 序号 | 定义 | 说明 |
| 1 | - | - |
| 2 | T2+ | 温度传感器正极 |
| 3 | T- | 温度传感器负极 |
| 4 | T1+ | 温度传感器正极 |
| 5 | SG | 慢充锁止装置信息反馈 |
| 6 | CP | 控制确认 |
| 7 | CC | 连接确认 |
| 8 | LK | 慢充锁止装置正极 |
| 9 | - | - |
| 10 | - | - |
| 11 | PE-S | 保护接地 |
| 12 | UL | 慢充锁止装置负极 |
慢充电缆的拆卸和安装(3D) |
![]() |

|
警告
当电子动力系统通电时,电源电缆带有高压。为避免电击造成的严重伤害,电源电缆断开时不要通电。 |
人员安全操作注意事项:
1.维修前必须确保点火开关处于OFF位置,并断开12V蓄电池负极电缆。
2.维修工作时确保钥匙不在车内,以免误操作通电而发生事故。
3.对电子动力系统线缆进行连接和拆装作业前,断开12V蓄电池负极电缆。
4.维修时必须佩戴高压绝缘手套/ 高压绝缘安全服/ 高压绝缘鞋/ 安全帽,并使用绝缘工具以防触电。
5.拆卸或安装带有高压标记的物品时,务必使用绝缘工具,并用绝缘胶带缠绕物品。
6.所有人员禁止佩戴任何金属饰品以防触电或发生其他危险。
7.电子动力系统的维修人员,必须具有低压电工证且通过厂家专业技术培训,其他人员不得擅自操作。
8.使用起搏器等电子医疗器械的人员可能受到磁力的影响,可能发生危险,因此该类人员不可从事电机的拆装工作。
9.操作人员必须具备对触电人员应急救援的处理能力,根据现场情况,灵活掌握人工呼吸,心脏按摩,AED(自动体外心脏起搏器)的急救顺序。
车辆安全注意事项:
1.严禁一切非授权人员对动力电池包进行拆解,否则会发生触电或其他危险。
2.严防在连接电子动力系统零部件过程中出现任何形式的短路。
3.维修电子动力系统前后,都需要使用绝缘电阻检测仪检测高压部件是否漏电,否则不可操作。
4.为避免损坏线束和端子,握住插接器部分,参考高压电缆插接器的拆卸和安装,小心地拔出线束插接器。
5.在所有线束和软管上做标记以防误接。而且要确保它们没有接触其他线束、软管,或者妨碍其他零件。
6.使用翼子板罩以免损坏油漆表面。
设备安全注意事项:
1.安装和维修电子动力系统结束后须及时整理工具和物料,不要将金属物品遗留在电子动力系统内部或顶部。
2.拆装及搬运动力电池包时,须采用升降车或专用工具;要轻取轻放,不得扔掷、挤压、踩踏、翻转,以免造成电池系统损坏或对人身的意外伤害。
场地安全注意事项:
1.必须在电动车专用维修工位进行维修。
2.非操作人员禁止进入维修场地区域,并树立高压危险警示标牌,将场地隔离。
3.高压系统部件区域贴上高压危险警示标签。
4.场地内需配备防电起火的灭火器。
电子动力系统部件位于该区域。电子动力系统是一个高压系统。在电子动力系统或系统附近工作前,必须熟悉该系统。进行修理或维修前,确保已阅读电子动力系统维修注意事项。
1.安全注意事项
| 1. 仔细阅读并掌握电子动力系统维修注意事项后,才能进行下一步的操作。 |
2.12 V 蓄电池端子 - 断开
![]() ![]() |
1.确保车辆处于 OFF (LOCK) 模式。 2.从12 V 蓄电池 (C) 上断开并隔离12 V 蓄电池传感
3.打开盖(F)。 4.从12 V 蓄电池上断开正极端子 (G)。
|
4.佩戴绝缘护具,使用绝缘工具
| 1.在维修时必须佩戴高压绝缘手套/ 高压绝缘安全服/高压绝缘鞋/安全帽,并使用绝缘工具以防触电。 |
5.慢充电缆信号线插接器 - 拆卸
![]() |
1.使用内饰件拆卸工具脱开慢充电缆信号线束插接器固定卡扣(A)。 |
![]() |
2.按压慢充电缆信号线束插接器卡夹,脱开慢充电缆信号线束插接器 (B)。 |
6.慢充自锁装置 - 拆卸
![]() ![]() |
1.按压慢充自锁装置左右两侧的锁止卡扣(A),将慢充自锁装置从慢充电缆接头上滑出。 2.按压慢充自锁装置插接器卡夹,脱开慢充自锁装置插接器(B),取下慢充自锁装置(C)。 |
7.慢充电缆- 拆卸
![]() |
1.使用 10mm 套筒拆卸慢充电缆接头固定螺栓 (A)(M6×14)。 |
![]() |
2.使用内饰件拆卸工具脱开慢充电缆3处固定卡扣(B)。 |
![]() |
3.按压脱开慢充电缆固定卡夹(C)。 4.向后拨开锁止卡扣①,按压锁止卡②,脱开插接器直至插接器再次锁止,再次按住插接器锁止卡③,脱开三合一端慢充电缆插接器(D)。 |
![]() |
5.取下慢充电缆(E)。 |
![]() |
6.拆卸高压线束后,务必使用绝缘胶带分别缠绕高压接口的公插头及母插头,以防触电。 |
1.所有拆卸零件 - 安装
| 1. 按照与拆卸相反的顺序安装零件。 |