12 V 蓄电池端子断开和重新连接

拆卸

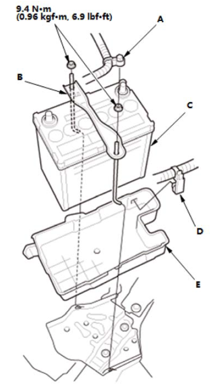
1.12V蓄电池端子-断开

1.确保车辆处于 OFF (LOCK) 模式。

2.从12 V 蓄电池 (C) 上断开并隔离12 V 蓄电池传感器 (A) 的电缆(B)。

注意事项

注意:

  • 始终先断开负极端。
  • 拆除端子 (E) 时,不要拿着它,以保护12 V 蓄电池传感器连接器 (D)。
  • 不要从电缆断开12 V 蓄电池传感器。

3.打开盖(F)。

4.从12 V 蓄电池上断开端子 (G)。

安装

1.12V蓄电池端子-连接

注意事项

注意:如果 12 V 蓄电池异常,测试12 V 蓄电池(A)。

1.清洁12 V 蓄电池端子。

2.连接端子 (B) 到 12 V 蓄电池上。

注意事项

注意:始终首先连接正极端。

3.将电缆(D) 和 12 V 蓄电池传感器 (C)连接到 12 V 蓄电池上。

注意事项

注意:安装端子 (F) 时,不要拿着它,以保护12 V 蓄电池传感器连接器 (E)。

4.在端子上涂抹多用途润滑脂以防腐蚀。

5.关闭盖(G)。

12 V 蓄电池测试

测试

1. 12 V 蓄电池 - 测试

警告

如果不遵循正确的程序,12 V 蓄电池可能爆炸,并导致周围人员严重受伤。

 

认真遵循所有的程序,火花和明火应远离12 V 蓄电池。12 V 蓄电池含有酸液(电解液),具有高度腐蚀性和毒性。

 

电解液接触眼睛或皮肤会造成严重烧伤。
对12 V 蓄电池作业或在其附近作业时,请穿戴好保护性衣物并戴上护目镜。
吞下电解液后如果不立即采取措施,会导致中毒致死。

注意事项

为得到精确结果,测试前确保电解液温度在 21 和 38 °C(70 和 100 °F)之间。

所需测试设备

  • 12 V 蓄电池测试器和:
    0-18 V 量程的电压表、0-100 A 和 0-500 A 量程的电流表和 0-300 W 碳堆功率表
  • 12 V 蓄电池充电器:
    50 A 快速充电和 5 A 慢速充电

 

测试过程

警戒

关于 12 V 蓄电池检查和 12 V 蓄电池充电的方法。

  • 如果 12 V 蓄电池有相关说明,请遵照说明。
  • 给12 V 蓄电池充电时,从车上拆下 12 V 蓄电池。

1.损坏测试:如果外壳破裂或端子松动,更换12 V 蓄电池

2.检查测试指示灯窗口:

      • 如果测试指示灯窗口显示蓄电池电解液不足,更换12 V 蓄电池
      • 如果测试指示灯窗口显示充电不足,给12 V 蓄电池充电,并重新检查。
      • 如果测试指示灯窗口显示充电正常,转至步骤3。

3.连接 12 V 蓄电池检测仪,测试12 V 蓄电池负载能力,并施加 12 V蓄电池额定电流三倍的负载。

负载施加正好 15 秒钟时,12 V 蓄电池电压读数应保持高于 9.6 V。

      • 如果读数保持高于 9.6 V,则12 V 蓄电池正常;清理端子和壳体,并将其重新安装。
      • 如果读数在 6.5 与9.6 V 之间,连接 12 V 蓄电池充电器,并以初始电流 40 A 将12 V 蓄电池充电3 分钟。
警告

充电时,由于 12 V 蓄电池主体变形或者可能由于产生的气体而爆炸,因此给12 V 蓄电池充电时,将12 V 蓄电池每个单元的电池盖完全松开。

警戒

电流将随着电压的升高而减小;不要通过增大电流补偿,否则将损坏 12 V 蓄电池。

      • 在整个3 分钟内观察 12 V 蓄电池电压;最高读数应保持低于15.5 V。
        • 如果读数保持低于 15.5 V,则12 V 蓄电池正常;清理端子和壳体,并将其重新安装。
        • 如果在快速充电的 3 分钟任何时间里,读数高于 15.5 V,则12 V 蓄电池已损坏;将其更换。
      • 如果读数下降低于 6.5 V,连接 12 V 蓄电池并给12 V 蓄电池慢速充电,并以 5 A 的电流充电不超过24 小时(或直到指示灯显示完全充满,或电解液比重至少为1.270)。
        然后再次测试负载容量。
        • 如果读数保持高于 9.6 V,则12 V 蓄电池正常;清理端子和壳体,并将其重新安装。
        • 如果电压下降持续低于 6.5 V,则12 V 蓄电池已损坏;将其更换。
 

12 V 蓄电池拆卸和安装

拆卸

1.12 V 蓄电池端子 - 断开

2.12 V 蓄电池 - 拆卸

 

1.拆下线束夹(A)。

2.拆下 12 V 蓄电池固定板 (B) 和 12 V 蓄电池(C)。

3.拆下线束夹(D)。

4.尝试拆下 12 V 蓄电池支架 (E)。

安装

1. 所有拆下零件 - 安装

  1.按照与拆卸相反的顺序安装零件。

12V蓄电池症状故障排除-12V蓄电池电量低或电量耗尽