车顶装饰条拆卸和安装 |
![]() |
1.车顶纵梁-拆卸
2.车顶装饰条-拆卸
![]() |
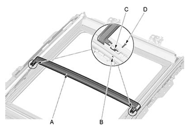
1. 从销(C)上拆下车顶装饰条(A)(B)。 |
1.所有拆下零件-安装
| 1.按照与拆卸相反的顺序安装零件。 |
车顶纵梁拆卸和安装 |
![]() |
1.车顶行李架-拆卸
![]() |
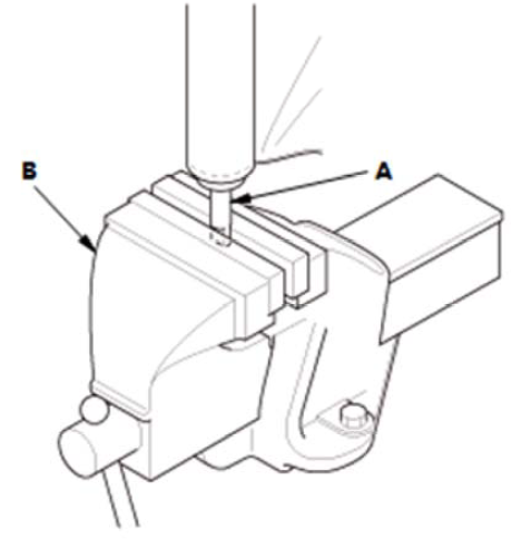
1. 使用一字起撬开保护盖(A)。 |
![]() |
2. 用T30批头拆下螺母。
|
1.所有拆下零件-安装
| 1.按照与拆卸相反的顺序安装零件。 |
全景玻璃车顶机械部件位置索引 |
![]() |
全景玻璃车顶玻璃位置调节 |
![]() |
1.前玻璃位置-检查
![]() ![]() |
1.车顶板(A)和后玻璃(B)应和玻璃车顶密封件(C) 相平且保持在0+1/-1 mm (0+0.04/-0.04in)以 内。如果不在此范围内,则作以下调整。 |
2.内封闭盖-拆卸
3.前玻璃位置-调节
![]() |
1.用T25批头稍稍松开螺栓。 2.上下、前后调节前玻璃(A)。 3.牢固地紧固所有螺栓。 4.如有必要,在另一侧重复该操作。 |
4.内盲盖-安装
6.漏水-检查
1.后玻璃位置-检查
![]() |
1.车顶板(A)应和后玻璃车顶密封件(B)相平且保持 在0+1/-1mm(0+0.04/-0.04in)以内。如果不在此范围内,则作以下调整。 |
2.顶篷内衬-拆卸
3.后玻璃位置-调节
![]() |
1.稍微松开螺钉(A)。 |
![]() |
2.拆下螺钉。 3.若要调节高度,使用平头螺丝刀更换垫片(A)。 注意:抬起后玻璃,更换垫片。 4.牢固地紧固所有螺栓。 5.对剩下的区域进行同样的操作。 |
4.顶篷内衬-安装
5.漏水-检查
全景玻璃车顶挡风网拆卸和安装 |
![]() |
1.导风板-更换
![]() |
1.完全打开前玻璃。 2.将挡风胶条(A)从车身凹槽内取出。 |
![]() |
3.抬起导风板(C),从框架(B)上断开导风板弹簧 (A),然后拆下导风板(C)。 |
1.所有拆下零件-安装
| 1.按照与拆卸相反的顺序安装零件。 |
全景玻璃车顶前玻璃拆卸和安装 |
![]() |
1.内盲盖-拆卸
![]() |
1.完全关闭前玻璃车顶。 2.一直往后滑动遮阳板。 3.松开钩(A),然后从前玻璃框架(C)拆下内盲盖(B)和玻璃支架连杆(D)。 4.在另一侧重复该操作。 |
2.全景前玻璃-拆卸
![]() |
1.用T25旋具头拆下螺栓。 2. 在另一侧重复该操作。 |
![]() |
3.在助手的帮助下,抬起并拆下前玻璃(A)。 |
1.所有拆下的部件-安装
| 1.按照与拆卸相反的顺序安装零件,然后调节全景玻璃位置。 |
全景玻璃车顶后玻璃拆卸和安装 |
![]() |
SRS部件位于该区域。执行修理或维修前查看SRS部件位置和注意事项及程序。
2.侧排水槽-拆卸
![]() |
1.沿箭头方向滑动,拆下侧排水槽(A)。 2.在另一侧重复该操作。 |
3.全景后玻璃-拆卸
![]() |
1.使用T25批头,拆下螺栓(A)。 2.使用十字起拆卸调整螺钉(B)。 |
![]() |
3.向上取下后玻璃(A)。 |
1.所有拆下的部件-安装
| 1.按照与拆卸相反的顺序安装零件,然后调节全景玻璃车顶位置。 |
全景玻璃车顶密封件拆卸和安装 |
![]() |
前
1.全景前玻璃-拆卸
2.玻璃车顶密封件-拆卸
![]() |
后
1.顶篷内衬-拆卸(不带全景玻璃车顶)(带全景玻璃车顶)
2.全景玻璃车顶框架-拆卸
3.全景后玻璃-拆卸
4.玻璃车顶密封件-拆卸
![]() |
前
1.玻璃车顶密封件-安装
![]() |
1.按压玻璃车顶密封件(A)的两端至前玻璃(B)背部的两端。 2.对齐玻璃车顶密封件的中点(C)和前侧前玻璃的中心(D),然后进行安装。
|
|
![]() |
3.如图所示,安装玻璃车顶密封件(A)至前玻璃
|
后
1.玻璃车顶密封件-安装
![]() |
1. 对齐玻璃车顶密封件 (B) 的切口 (A) 与后玻璃 (D) 的凸出部位 (C),然后按压玻璃车顶密封件至后玻 璃前部的两端。
|
|
![]() |
2. 对齐后玻璃 (B) 的定位标记(A) 与玻璃车顶密封件 (D) 的孔 (C) 。 |
|
![]() |
3. 如图所示,安装玻璃车顶密封件 (A) 至后玻璃 (B)。
|
|
![]() |
4. 如图所示,确认玻璃车顶密封件 (A) 是否与后玻璃 (B) 的边缘对齐。 |
2.全景后玻璃-安装
3.全景玻璃车顶框架-安装
4.顶篷内衬-安装(不带全景玻璃车顶)(带全景玻璃车顶)
5.玻璃车顶位置-检查
全景玻璃车顶排水槽拆卸和安装 |
![]() |
![]() |
1.拆下限位卡环(B)、复位弹簧(C)及连接轴(D)。 2.将前排水槽(A)从玻璃支架上拆下。 |
![]() |
3.如有必要,拆下排水槽密封件(A)。 |
1.所有拆下的部件-安装
| 1.按照与拆卸相反的顺序安装零件,然后调节全景玻璃车顶位置。 |
全景玻璃车顶遮阳帘拆卸和安装 |
![]() |
1.全景玻璃车顶框架-拆卸
2.全景后玻璃-拆卸
3.遮阳罩盖-拆卸
![]() |
1.使用十字起拆卸遮阳罩盖固定螺钉(A),取下遮阳 罩盖(B)。 |
4.遮阳罩-拆卸
![]() |
1.固定遮阳罩套(B),向前按压遮阳罩(A)。 2.如图所示,转动遮阳罩边缘超过90 °,然后将其从 遮阳罩套内松开。
|
|
![]() |
3.将遮阳罩(A)滑向遮阳罩座(B),以便从遮阳罩座 上松开遮阳罩卷轴(C)的端部。 4.从遮阳罩座上松开遮阳罩卷轴的端部,拆下遮阳 罩。
|
5.遮阳罩座和遮阳罩导轨-拆卸
![]() |
1. 拆下遮阳罩座(A)和遮阳罩导轨(B)。 |
1.遮阳罩座和遮阳罩导轨-安装
![]() |
1.安装遮阳罩座(A)和遮阳罩导轨(B)。 |
2.遮阳罩卷绕力-调节
![]() |
释放卷绕力 1.按压遮阳罩卷帘(B)的遮阳罩卷轴(A),以释放卷 |
|
![]() |
调节卷绕力 2.用台虎钳(B)固定遮阳罩卷轴(A)的平坦部位。 |
|
![]() |
3.向下按压遮阳罩(A)时,如图所示,转动遮阳罩15 几圈。 4.从台虎钳(B)中拆下遮阳罩。
|
3.遮阳罩-安装
![]() |
1.对齐遮阳罩卷轴(A)的凸起部位与遮阳罩座(B)的 槽。 2.固定遮阳罩卷轴至相反的遮阳罩座,安装遮阳罩 (C)。 |
|
![]() |
3.在遮阳罩套(B)上安装遮阳罩(A)的杆端。
|
4.遮阳罩盖-安装
![]() |
1.使用十字起安装遮阳罩盖固定螺钉(A)。 |
5.全景后玻璃-安装
6.全景玻璃车顶框架-安装
7.玻璃车顶位置-检查
8.电动遮阳罩电机-控制单元-重置
9.顶篷内衬-安装(不带全景玻璃车顶)(带全景玻璃车顶)
全景玻璃车顶电机拆卸和安装 |
![]() |
拆卸
1.顶篷内衬-拆卸(不带全景玻璃车顶)(带全景玻璃车顶)
2.全景遮阳罩电机-拆卸
![]() |
1.断开连接器 (A)。 2.使用T25批头拆下螺钉(B),然后拆下全景遮阳罩电 机(C)。 |
安装
1.所有拆下的零件-安装
| 1.按照与拆卸相反的顺序安装零件,然后重置电动遮阳板控制单元。 |
拆卸
1.顶篷内衬-拆卸(不带全景玻璃车顶)(带全景玻璃车顶)
2.全景玻璃车顶电机-拆卸
![]() |
1.前玻璃关闭,完全打开遮阳板。 2.断开连接器(A)。 3.使用T25批头拆下螺钉(B),然后拆下全景玻璃车顶 电机(C)。 |
安装
1.所有拆下的零件-安装
![]() |
1.按照与拆卸相反的顺序安装零件。
|
全景玻璃车顶遮阳帘拉线总成拆卸和安装 |
![]() |
1.全景前玻璃-拆卸
2.全景遮阳罩电机-拆卸
3.遮阳帘基座和遮阳帘导轨-拆卸
4.拉线总成-拆卸
![]() |
1.滑动遮阳罩拉线的套(A) 至后部,并从框架(B)中将其拉出。 |
![]() |
2.拉出拉线总成(A)。 |
1.所有拆下的零件-安装
![]() |
1.按照与拆卸相反的顺序安装零件。
|
全景玻璃车顶拉线总成拆卸和安装 |
![]() |
1.全景前玻璃-拆卸
3.遮阳帘基座和遮阳帘导轨-拆卸
4.玻璃支架连杆盖-拆卸
![]() |
1.松开钩(A),向后滑,拆下支架连杆盖(B)。(两侧) |
5.玻璃车顶拉线总成和玻璃支架连杆-拆卸
![]() |
1.向后滑动连杆升降器(B),向后倾斜玻璃支架(A),然后使用连杆升降器向后滑动两个玻璃托架。
|
|
![]() |
2.滑动玻璃车顶拉线(B)的支架连杆(A)至后部,并从框架(C)中将其拉出。 3.拉出拉线总成。 |
|
![]() |
4.从玻璃支架(B)上拆下支架连杆(A)同时从支架连杆的孔D)内拆下玻璃支架的销(C)。 | |
![]() |
5.如有必要,拆下固定板(A)。 |
1.所有拆下的零件-安装
![]() ![]() |
1.按照与拆卸相反的顺序安装零件。
|
全景玻璃车顶框架和排水管拆卸和安装 |
![]() |
拆卸
1.顶篷内衬-拆卸(不带全景玻璃车顶)(带全景玻璃车顶)
2.以下部件-拆卸
|
如有必要,拆卸这些部件。 |
3.全景玻璃车顶框架-拆卸
![]() |
1.断开车顶电机连接器(A) 。 2.拆下线束固定卡扣(B)及线束卡夹(C)。 |
![]() |
3.拆卸管夹,脱开前排水管(A)及后排水管(B)。 |
![]() |
4.拆下螺栓,降低框架以松开销(A),然后松开钩(B)。 5.在助手的帮助下,拆下玻璃车顶框架(C)。 |
安装
1.所有拆下的部件-安装
| 1.按照与拆卸相反的顺序安装零件,然后调节全景玻璃车顶位置。 |
拆卸
1.顶篷内衬-拆卸(不带全景玻璃车顶)(带全景玻璃车顶)
2.仪表板下保险丝/继电器盒-拆卸
3.DC-DC转换器-拆卸(对于某些车型)
4.手套箱-拆卸
5.前排水管-拆卸
![]() ![]() |
1.拆下卡扣(A)。 2.将前排水阀(B)从车身孔中拉出。 3.将绳子系到前排水管(C)顶端,然后从立柱中向下 拉出排水管。将绳子留在立柱里以待重新安装排水 管时用。 |
安装
1.所有拆下的部件-安装
![]() |
1. 按照与拆卸相反的顺序安装零件。
|
拆卸
1.顶篷内衬-拆卸(不带全景玻璃车顶)(带全景玻璃车顶)
2.后排水管-拆卸
![]() ![]() |
1.拆下卡扣 (A)。(左侧) 2.将后排水阀(B)从车身孔中拉出。 3.将绳子系到后排水管(C)顶端,然后从立柱中向下 拉出排水管。将绳子留在立柱里以待重新安装排水 管时用。 |
安装
1.所有拆下的零件-安装
![]() |
1.按照与拆卸相反的顺序安装零件。 |
全景玻璃车顶系统说明 - 概述 |
![]() |
某些车型具有带倾斜功能的全景玻璃车顶。全景玻璃车顶/电动遮阳帘控制单元包括电机、脉冲传感器、控制单元和继电器。

全景玻璃车顶系统说明 - 控制/功能 |
![]() |
当开启了全景玻璃车顶开启开关时,全景玻璃车顶将开启。在这个过程中,如果遮阳板关闭,遮阳板将同样开启至与全景玻璃车顶保持一定的距离。
当开启了全景玻璃车顶关闭开关时,全景玻璃车顶将关闭。
当开启了电动遮阳板开启开关时,电动遮阳板将开启。
当开启了电动遮阳板关闭开关时,电动遮阳板将关闭。如果全景玻璃车顶开启,电动遮阳板将在全景玻璃车顶位置停止关闭。如果再次开启了电动遮阳板关闭开关,电动遮阳板将再次关闭,并和全景玻璃车顶保持一定距离。
各开关都有第一个止动位置 (进行手动车顶或遮阳板操作) 和第二个止动位置(进行自动车顶或遮阳板操作)。进行手动操作时,车顶或遮阳板仅在开关位于第一个止动位置时开启/关闭。进行自动操作时,一旦设置至第二个止动位置,车顶或遮阳板将完全开启/关闭。
|
注意事项
仅在自动操作时可使用翘起功能。 |
自动打开功能

自动关闭功能

| 激活术语 | 取消术语 |
|
|
当开启了全景玻璃车顶翘起开关时,全景玻璃车顶将向上翘起。
这个过程中,遮阳板关闭。首先,遮阳板开启至一定程度,然后全景玻璃车顶将向上翘起。
一旦全景玻璃车顶翘起开关开启,无需按住开关,全景玻璃车顶将自动向上翘起。
全景玻璃车顶向上翘起开启了全景玻璃车顶关闭开启时全景玻璃车顶将向下翘起。
这个过程中,全景玻璃车顶将首先向下翘起,然后遮阳板关闭。
开关带第一个止动位置 (进行手动车顶或遮阳板操作) 和第二个止动位置 (进行自动车顶或遮阳板操作)。
进行手动操作时,车顶或遮阳板仅在开关位于第一个止动位置时开启/关闭。
进行自动操作时,一旦设置至第二个止动位置,车顶或遮阳板将完全开启/关闭。
向上翘起功能

向下翘起功能

| 激活术语 | 取消术语 |
|
|
当天窗关闭且停止负载大于规定值时,天窗将立即回退然后停止。
控制单元通过检查天窗电机脉冲传感器的脉冲输出检测到“夹住”。
全景玻璃车顶和电动遮阳帘具有学习功能。
如果未完成学习,从打开、关闭或倾斜操作开始的自动操作将无法完成。
全景玻璃车顶系统说明 - 部件 |
![]() |
全景玻璃车顶/电动遮阳帘开关安装在车顶控制台单元中。
全景玻璃车顶系统说明 - 失效保护功能 |
![]() |
如果出现电源故障或控制单元故障,当各功能的控件被失效保护功能禁用时,只能进行手动操作。
全景玻璃车顶电气部件位置索引 |
![]() |
重置全景玻璃车顶电机-控制单元 |
![]() |
|
注意事项
发生以下情况时,进行全景玻璃车顶清除,然后进行位置学习或倾斜面学习:
|
1.全景玻璃车顶控制单元-清除
若要清除全景玻璃车顶控制单元和电动遮阳板控制单元,执行以下操作:
1.关闭驾驶员侧车门,并保持关闭直到程序完成。
2.将车辆转至OFF(LOCK)模式。

3.按住倾斜开关,然后将车辆转至ON模式。
4.松开倾斜开关,然后将车辆转至OFF(LOCK)模式。
5.重复步骤3和4多于4次。
6.检查全景玻璃车顶和电动遮阳板的自动打开和自动关闭功能是否工作正常。如果仍可操作,则自动功 能还未被清除,返回至步骤1。如果未操作(清除)自动功能,转至位置学习和倾斜面学习。
2.全景玻璃车顶控制单元-位置学习
|
若要执行全景玻璃车顶控制单元的位置学习,进行以下步骤: 1.按住全景玻璃车顶关闭开关,直到全景玻璃车顶在完全打开位置翘起。 |
3.全景玻璃车顶控制单元-滑动表面学习
|
若要在全景玻璃车顶控制单元上执行滑动表面学习,执行这些步骤: 1.通过在全景玻璃车顶上执行自动功能,进行滑动表面学习。
|
重置电动遮阳帘电机-控制单元 |
![]() |
|
注意事项
发生以下情况时,进行电动遮阳板清除,然后进行位置学习或倾斜面学习:
|
|
|
3.电动遮阳板控制单元-倾斜面学习
| 执行电动遮阳板控制单元倾斜面学习,执行以下步骤: 1.执行电动遮阳板的自动功能,执行倾斜面学习。
|
全景玻璃车顶/电动遮阳帘开关测试 |
![]() |
2.全景玻璃车顶/电动遮阳帘开关-测试
|
注意事项
全景玻璃车顶/电动遮阳帘开关内置于车顶控制台单元 (A) 中。 |
1.根据表格检查开关的导通性。
|
注意事项
|


全景玻璃车顶开关

电动遮阳帘开关

2.如果结果与规定不符,则天窗开关故障更换车顶控制台单元。
3.所有拆下零件-安装
| 1.按照与拆卸相反的顺序安装零件。 |