顶灯拆卸、安装和测试 |
![]() |
1.顶灯-拆卸
![]() |
1.关闭顶灯开关。 2.小心撬起透镜(A). 3.拆下顶灯(B)。 4.断开插接器(C)。 5.拆下灯泡(D)。 |
1.所有拆下零件-安装
| 1.按照与拆卸相反的顺序安装零件。 |
1.顶灯-测试
![]() |
1.根据表中每个开关的位置,检查端子之间是否导通。 |
上车照明灯控制系统部件位置索引 |
![]() |
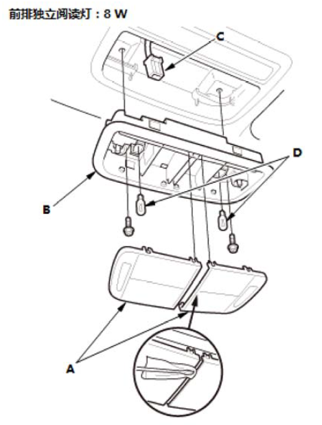
前排独立阅读灯拆卸、安装和测试 |
![]() |
2.前排独立阅读灯-拆卸
![]() |
1.将前排独立阅读灯开关转至OFF位置。 2.小心地撬出镜片(A)。 3.拆下前排独立阅读灯(B)。 4.断开连接器(C)。 5.拆下灯泡(D)。 |
1.所有拆下零件-安装
| 1.按照与拆卸相反的顺序安装零件。 |
1. 前排独立阅读灯-测试
![]() |
1.根据表中每个开关的位置,检查端子之间是否导通。 |
后排独立阅读灯拆卸、安装和测试 |
![]() |
2.后排独立阅读灯-拆卸
![]() |
1.小心地撬下灯罩(A)。 2.拆下后排独立阅读灯(B)。 3.断开插接器(C)。 |
1.所有部件已拆下-安装
| 1.按照与拆卸相反的顺序安装零件。 |
1.后排独立阅读灯-测试
1.根据表格,检查后排独立阅读灯(A)。
|
注意事项
|

2.如果结果与规定不符,则更换后排独立阅读灯。
车顶控制台模块拆卸和安装 |
![]() |
1.车顶控制台模块-拆卸
![]() |
1.小心地撬出镜片 (A) 。 |
![]() |
2.使用内饰拆卸工具拆下车顶控制台模块 (A) 。 3.断开连接器 (B) 和卡扣 (C) 。 |
1.所有拆下零件-安装
| 1.按照与拆卸相反的顺序安装零件。 |
车顶控制台单元测试 |
![]() |
2.车顶控制台模块-测试
|
注意事项
车内照明灯开关和独立阅读灯开关内置于车顶控制台模块(A)。 |
1.根据表格检查车内照明灯开关和独立阅读灯开关。
|
注意事项
|

2.如果结果与规定不符,则车内照明灯开关和/或独立阅读灯开关故障;更换车顶控制台模块。
3.所有拆下零件-安装
| 1.按照与拆卸相反的顺序安装零件。 |
扶手箱灯拆卸与安装 |
![]() |
1. 扶手箱上面板 - 拆卸
2. 扶手箱灯- 拆卸
![]() |
1. 脱开扶手箱灯插接器(A),旋转取出扶手箱灯 (B)。 |
1. 所有拆下零件 - 安装
| 1. 按照与拆卸相反的顺序安装零件。 |