内饰部件位置索引 |
![]() |
前车门开口密封件拆卸与安装 |
![]() |
1. 安全注意事项
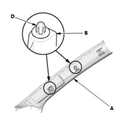
3. 前车门开口密封件 - 拆卸
![]() |
1. 所有拆下零件 - 安装
![]() |
1. 按照与拆卸相反的顺序安装零件。
|
1. 漏水 - 检查
前门门槛装饰件/踏脚板拆卸与安装 |
![]() |
1. 前门门槛装饰件 - 拆卸
![]() |
1. 根据需要,拉出前门门洞密封件 (A) 。 2. 拆下前门门槛装饰件 (B) 。
|
2. 踏脚板 - 拆卸
![]() ![]() |
1. 根据需要,拉出前门门洞密封件 (A) 。 2. 拆下踏脚板 (B) 。
|
1. 所有拆下的部件 - 安装
![]() |
1. 按照与拆卸相反的顺序安装零件。
|
后车门开口密封件拆卸与安装 |
![]() |
1. 后车门开口密封件 - 拆卸
![]() |
1. 所有拆下的部件 - 安装
![]() |
1. 按照与拆卸相反的顺序安装零件。
|
1. 漏水 - 检查
后车门门槛装饰件拆卸与安装 |
![]() |
1. 后门门槛装饰件 - 拆卸
![]() |
1. 根据需要,拉出后门门洞密封件(A)。
|
1. 所有拆下的部件 - 安装
![]() |
1. 按照与拆卸相反的顺序安装零件。
|
前立柱装饰件拆卸与安装 |
![]() |
|
注意事项
|
1. 前立柱装饰件 - 拆卸
![]() |
1. 根据需要拆下前门门洞密封件 (A) 。 2. 拉出前立柱装饰件 (B) 。 |
|
![]() |
3. 在前立柱装饰件 (B) 和车身之间的开口放一块抹布 (A),以免前立柱卡扣掉落。 | |
![]() |
4. 拆下前立柱装饰件 (A) 。‘
|
|
![]() |
5. 将上卡扣 (A) 从车身上拆下。 |
1. 前立柱装饰件 - 检查
|
|
1. 如果侧窗帘式气囊已展开,换上新的前立柱装饰件 (A) 。 2. 如果侧窗帘式气囊未展开,检查前立柱装饰件并注意以下各项:
- 前立柱装饰件出现任何断裂、变形或应力发白
|
1. 所有拆下零件 - 安装
![]() |
1. 按照与拆卸相反的顺序安装零件。
|
中间立柱上/下装饰件拆卸与安装 |
![]() |
4. 中间立柱下装饰件 - 拆卸
![]() |
1. 根据需要拆下前门和后门门洞密封件 (A) 。 2. 拆下中间立柱下装饰件 (B) 。 |
6. 中间立柱上装饰件 - 拆卸
![]() |
1. 根据需要拆下前门和后门门洞密封件 (A) 。 2. 拆下中间立柱上装饰件 (B) 。 |
1. 中间立柱上/下装饰件 - 检查
![]() |
1. 如果侧窗帘式气囊已展开,用新的零件更换中间立柱上装饰件 (A)、中间立柱下装饰件 (B)。 2. 如果侧窗帘式气囊未展开,检查中间立柱上/下装饰件并注意以下各项:
- 中间立柱上装饰件或上钩(C) 上出现裂痕 或变形,或装饰件上部有应力发白区域
|
1. 所有拆下零件 - 安装
|
1. 按照与拆卸相反的顺序安装零件。 |
三角窗立柱装饰件拆卸与安装 |
![]() |
1. 后侧装饰板 - 拆卸
3. 三角立柱装饰件 - 拆卸
![]() |
1. 如有必要,拆下后门门洞密封件 (A) 和尾门密封条(B)。 2. 拉三角立柱装饰件 (C) ,拆下卡扣。 3. 松开钩 (D) ,拆下三角立柱装饰件。 |
1. 三角立柱装饰件 - 检查
![]() ![]() |
1. 如果侧窗帘式气囊已展开,换上新的三角立柱装饰件 (A) 。 2. 如果侧窗帘式气囊未展开,检查三角立柱装饰件并注意以下各项:
- 三角立柱装饰件出现任何断裂、变形或应力发白
|
1. 所有拆下零件 - 安装
|
1. 按照与拆卸相反的顺序安装零件。 |
内饰拆卸和安装 - 后侧区域 |
![]() |
1. 货厢区域内饰板 - 拆卸
2. 行李箱区域照明灯- 拆卸
3. 后车门门槛装饰件 - 拆卸
4. 后侧装饰板 - 拆卸
![]() ![]() |
1. 如有必要,拆下后门密封条 (A) 和尾门密封条(B)。 2. 拆下后侧装饰板(C)。 3. 断开连接器(D)。(右侧) |
1. 所有拆下零件 - 安装
|
1. 按照与拆卸相反的顺序安装零件。 |
后侧装饰板拆卸和安装-货厢区域 |
![]() |
1. 行李箱地板盖- 拆卸
![]() |
1. 使用平头螺丝刀,打开盖 (A) 。 2. 拧松螺钉,然后拆下拴系拖钩 (B) 。 |
![]() ![]() |
3. 拆下行李箱地板盖 (A) 。 |
2. 行李箱地板箱 - 拆卸
![]() |
1. 取出行李箱地板箱 (A) 。 |
3. 后侧装饰板 - 拆卸
![]() |
1. 使用内饰件拆卸工具撬开后侧装饰板固定卡扣,取下后侧装饰板 (A) 。 |
1. 所有拆下零件 - 安装
|
1. 按照与拆卸相反的顺序安装零件。 |
内饰拆卸和安装 - 尾门区域 |
![]() |
1. 尾门上装饰板 - 拆卸
![]() |
1. 使用内饰件拆卸工具撬开固定卡扣,取出尾门上装饰板 (A)。 |
2. 尾门侧装饰板 - 拆卸
![]() |
1. 使用内饰件拆卸工具撬开固定卡扣,取出尾门侧装饰板 (B)。 |
3. 尾门下装饰板 - 拆卸
![]() |
1.使用内饰件拆卸工具拆卸16个固定卡扣(C)。 2.取下尾门下装饰板(D)。 |
1. 所有拆下零件 - 安装
|
1. 按照与拆卸相反的顺序安装零件。 |
门兜拆卸和安装 |
![]() |
1. 尾门门兜 - 拆卸
![]() |
1. 用平头螺丝刀松开钩(A),然后拆下门兜 (B)。 |
1. 所有拆下零件 - 安装
|
1. 按照与拆卸相反的顺序安装零件。 |
遮阳板拆卸和安装 |
![]() |
2. 遮阳板 - 拆卸
![]() |
1. 使用一把平头螺丝刀,推动钩(A)穿过托架盖(B)的前侧的孔。
|
|
![]() |
2. 用平头螺丝刀推入钩(A)时,将遮阳板 (B) 从遮阳板固定架(C)上松开,并向后转动遮阳板 45 。
|
|
![]() |
3. 断开连接器(A)。(针对某些车型)
|
3. 遮阳板固定器 - 拆卸
![]() |
1. 使用一把平头螺丝刀,推动钩(A)穿过遮阳板固定架 (B) 的右侧或左侧的孔。 |
![]() |
2. 使用平头螺丝刀按相反侧钩,拆下遮阳板固定架 (A)。 |
![]() |
1. 如果侧窗帘式安全气囊已展开,换上新的遮阳板。 2. 如果侧窗帘式气囊未展开,检查遮阳板是否损坏。损坏的遮阳板可能导致侧窗帘式气囊展开不当,可能造成人员伤害。如果有以下任何损坏则更换遮阳板:
3. 如果遮阳板固定架损坏或应力发白,用新的进行更换。 |
1. 所有拆下的零件 - 安装
|
注意事项
|



把手拆卸和安装 |
![]() |
1. 把手 - 拆卸
![]() |
1. 降下把手(A)。 2. 拆下盖子(B)。 3. 用钳子挤压卡扣(C),然后拆下把手。 |
1. 把手 - 检查(带侧窗帘式气囊)
![]() |
1. 如果侧窗帘式安全气囊已展开,换上新的把手 (A) 。 2. 如果侧窗帘式气囊未展开,检查把手是否损坏。损坏的把手可能导致侧窗帘式气囊展开不当,可能造成人员伤害。如果有以下任何损坏则更换把手:
|
1. 把手 - 安装
![]() |
1. 将把手 (A) 定位到把手支架 (B) 上。 2. 用手推把手,直到卡扣 (C) 牢固卡到位。 3. 将盖(D)完全安装到卡扣中。 |
顶篷内衬拆卸和安装 [带全景玻璃车顶] |
![]() |
|
2. 立柱装饰件 - 拆卸
|
1. 拆下以下部件: |
3. 遮阳板和遮阳板固定架 - 拆卸
| 1. 拆下遮阳板和遮阳板固定架。(两侧) |
4. 把手 - 拆卸
5. 后排独立阅读灯- 拆卸
6. 车顶控制台单元 - 拆卸
7. 车顶单元装饰板 - 拆卸
![]() |
8. 全景玻璃车顶装饰件 - 拆卸
![]() |
1. 从全景玻璃车顶开口边缘 (B) 拉出全景玻璃车顶装饰件 (A),然后拆下装饰件。 |
9. 顶篷内衬- 拆卸
![]() |
1. 向前放下后排座椅靠背。 2. 如有必要,拆下前门和后门门洞密封件 (A) 和尾门密封条 (B) 。 |
|
![]() |
3. 在助手的帮助下,通过尾门门洞,拆下顶篷内衬(A) 。
|
|
![]() |
4. 如有必要,拆下卷收器盖 (A) 和卷收器支架 (B) 。 |
|
![]() |
5. 如有必要,拆下儿童锚定器盖 (A) 。 |
1. 顶篷内衬- 检查
![]() |
1. 如果侧窗帘式安全气囊已展开,换上新的顶篷内衬 (A) 。 2. 如果侧窗帘式气囊未展开,检查顶篷内衬并注意以下各项:
- 顶篷内衬上出现折痕或撕裂 - 从顶篷内衬脱落的任何卡扣底座 (D) 。
|
1. 所有拆下零件 - 安装
|
1. 按照与拆卸相反的顺序安装零件。 |
顶篷内衬拆卸和安装 [不带全景玻璃车顶] |
![]() |
|
2. 立柱装饰件 - 拆卸
|
1. 拆下以下部件: |
3. 遮阳板和遮阳板固定架 - 拆卸
| 1. 拆下遮阳板和遮阳板固定架。(两侧) |
4. 把手 - 拆卸
5. 顶灯- 拆卸
6. 前排独立阅读灯- 拆卸
7. HFT 麦克风- 拆卸
8. 车顶单元装饰板 - 拆卸(如有必要)

9. 顶篷内衬- 拆卸
![]() ![]() |
1. 从前立柱拆下线束夹 (A) 。 2. 从前立柱断开连接器 (B) 。 |
|
![]() |
3. 从后侧板断开连接器 (A) 。 |
|
![]() |
4. 向前放下后排座椅靠背。 |
|
![]() |
6. 在助手的帮助下,通过尾门门洞,拆下顶篷内衬(A) 。
|
|
![]() |
7. 如有必要,拆下缓冲垫胶带。 |
|
![]() |
8. 如有必要,拆下卷收器盖 (A) 和卷收器支架 (B) 。 |
1. 顶篷内衬- 检查(带侧窗帘式气囊)
![]() |
1. 如果侧窗帘式安全气囊已展开,换上新的顶篷内衬 (A) 。 2. 如果侧窗帘式气囊未展开,检查顶篷内衬并注意以下各项:
- 顶篷内衬上出现折痕或撕裂 |
1. 所有拆下零件 - 安装
|
1. 按照与拆卸相反的顺序安装零件。
|
地毯拆卸和安装 |
![]() |
1.前排座椅 - 拆卸
| 1. 拆下前排座椅。(两侧) |
2.后排座椅脚导板盖- 拆卸
| 1. 拆下后排座椅脚导板盖。(两侧) |
5.中间立柱下装饰件 - 拆卸
|
1. 拆下中间立柱下装饰件。(两侧) |
7.手套箱 - 拆卸
8.转向节盖- 拆卸
10.仪表板总成-拆卸
11.转向吊架横梁-拆卸
12.地板地毯 - 拆卸
![]() |
1. 拆下加热器接头管(A)。
|
![]() |
2. 使用内饰拆卸工具拆下卡扣(B)。
3.. 拉出线束(C)取下地毯(D)。
|
1. 所有拆下零件 - 安装
|
1. 按照与拆卸相反的顺序安装零件。 |