车轮螺栓拆卸和安装
拆卸
1.车辆 - 举升
2.前轮 - 拆卸
3.前轮毂 - 拆卸
4.车轮螺栓 - 拆卸
注意!
- 不要使用锤子或冲击工具(气动或电动)。
- 小心不要损坏车轮螺栓的螺纹。

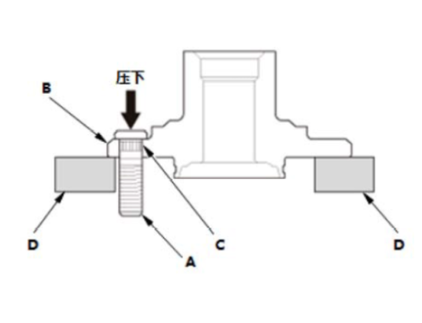
a.使用液压机将车轮螺栓(A)从轮毂(B)上分离。用液压机附件(C)或同等工具支撑轮毂。
安装
1.车轮螺栓 - 安装
注意!
- 不要使用锤子或冲击工具(气动或电动)。
- 小心不要损坏车轮螺栓的螺纹。

a.在将轮毂孔上的花键表面(C)与车轮螺栓对齐的同时,将新的车轮螺栓(A)插入轮毂(B)中。
b.使用液压机安装车轮螺栓,直到车轮螺栓的台肩完全就位。用液压机附件(D)或同等工具支撑轮毂。
2.前轮毂 - 安装
3.前轮 - 安装
a.安装完成后,应进行路试,确认底盘无异响。