灵悉L
概述
规格
保养
电子动力系统
悬架系统
制动系统
转向系统
空调系统
车身电气
行驶支持和保护系统
概述
规格
保养
电子动力系统
悬架系统
制动系统
转向系统
空调系统
车身电气
行驶支持和保护系统
  • 前悬架

    • 前悬架部件索引
    • 前悬架部件维修工艺

      • 前悬架总成拆卸和安装
      • 轮轴承轴向间隙检查
      • 前转向节/轮毂/车轮轴承拆卸和安装
      • 前下臂球节检查
      • 前下臂球节拆卸和安装
      • 前下臂拆卸和安装
      • 前稳定连杆拆卸和安装
      • 前稳定杆拆卸和安装
      • 前悬架总成拆解、重新组装和检查
      • 球节拆卸
  • 后悬架

    • 后悬架部件位置索引
    • 后悬架部件维修工艺

      • 后轴臂拆卸和安装
      • 车轮轴承轴向间隙检查
      • 后轮毂轴承拆卸和安装
  • 减震器

    • 减震器部件维修工艺

      • 前减震器/弹簧拆卸和安装
      • 前减震器/弹簧拆解、重新组装和检查
      • 后减震器拆卸和安装
      • 后弹簧拆卸和安装
      • 减震器报废
  • 车轮和轮胎

    • 胎压信号接收器位置索引
    • 车轮系统说明

      • 胎压报警系统说明-概要
      • 胎压监测系统说明-控制
    • 车轮检查

      • 车轮跳动量检查
    • 车轮维修工艺

      • 车轮拆卸和安装
      • 车轮螺栓拆卸和安装
      • 后胎压信号接收器拆卸和安装
      • 前胎压信号接收器拆卸和安装
      • 车轮定位
      • 胎压监测匹配

车轮螺栓拆卸和安装

拆卸

1.车辆 - 举升

2.前轮 - 拆卸

3.前轮毂 - 拆卸

4.车轮螺栓 - 拆卸

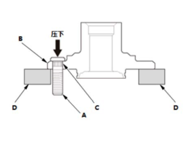
注意!

  • 不要使用锤子或冲击工具(气动或电动)。
  • 小心不要损坏车轮螺栓的螺纹。

image-20240718173406687

a.使用液压机将车轮螺栓(A)从轮毂(B)上分离。用液压机附件(C)或同等工具支撑轮毂。

安装

1.车轮螺栓 - 安装

注意!

  • 不要使用锤子或冲击工具(气动或电动)。
  • 小心不要损坏车轮螺栓的螺纹。

image-20240718173507932

a.在将轮毂孔上的花键表面(C)与车轮螺栓对齐的同时,将新的车轮螺栓(A)插入轮毂(B)中。

b.使用液压机安装车轮螺栓,直到车轮螺栓的台肩完全就位。用液压机附件(D)或同等工具支撑轮毂。

2.前轮毂 - 安装

3.前轮 - 安装

a.安装完成后,应进行路试,确认底盘无异响。

上一页
车轮拆卸和安装
下一页
后胎压信号接收器拆卸和安装