转向器支架缓冲垫更换
注意!
- 不要让灰尘、脏物或其他异物进入转向器。
拆卸
1.转向器 - 拆卸
2.转向器支架缓冲垫 - 拆卸

a.如图所示,用垫圈(B)、10 x 105 mm 法兰螺栓(C)和 10mm 螺母(D),将36 mm 套筒(A)安装到转向器壳体的法兰部分。
b.用一个扳手固定法兰螺栓,并用另一个扳手紧固螺母。
c.拆下转向器支架缓冲垫(E)。
3.转向器支架缓冲垫 - 安装

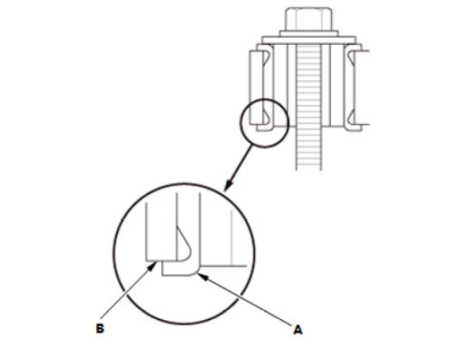
a.在新的转向器支架缓冲垫表面(A)上涂抹中性皂液,然后将支架缓冲垫放入转向器支架缓冲垫的孔中。
b.如图所示,用垫圈(C)、法兰螺栓(D)和螺母(E)将36 mm的套筒(B)置于转向器壳体的法兰部分。

c.紧固螺母直至支架缓冲垫边缘(A)正确装配到转向器法兰表面(B),以安装转向器支架缓冲垫。