驱动轴拆解和重新组装
分解图
1.驱动轴 - 分解图

分解
1.驱动轴 - 拆卸
2.驱动轴 - 分解
内球笼防尘罩箍带- 拆卸

a.用市售 CV 防尘罩夹钳(30500) (A) 夹住防尘罩箍带,然后松开箍带。
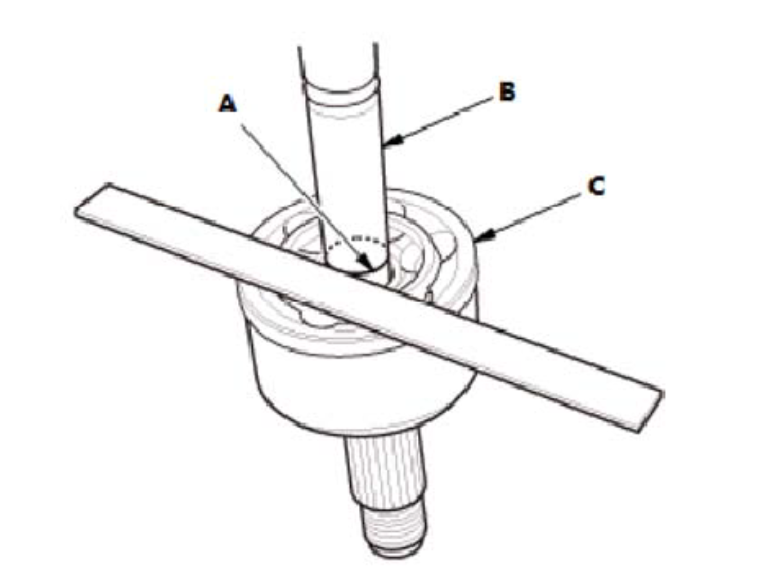
内球笼内万向节- 拆卸

b.在各滚柱 (B) 和内万向节(C) 上做标记(A),以识别滚柱至内万向节的凹槽位置。
注意!
- 不要在滚动表面上雕刻或划上任何标记。
c.拆下内万向节并置于清洁的抹布 (D) 上。
内球笼十字轴- 拆卸

d.拆下卡环(A)。
e.在十字轴(C) 和半轴(D) 上做标记(B),标识该轴的位置。
f.拆下十字轴。
注意!
- 如有必要,使用市售的轴承拉拔器,注意不要损坏十字轴。
内防尘罩- 拆卸

g.用乙烯树脂胶带(A) 缠绕半轴上的花键,以免损坏内防尘罩(B)。。
h.拆下内防尘罩。
i.拆下乙烯树脂胶带。
外球笼防尘罩箍带- 拆卸

j.用平头螺丝刀撬起三个凸舌 (A),然后松开箍带。
外球笼- 拆卸

k.将外球笼(A) 部分滑向内球笼侧。
l.擦掉润滑脂,露出半轴和外球笼内圈。

m.在半轴(B) 上与外球笼端部 (C) 高度相同的位置做标记(A)。

n.用抹布包住半轴,然后用台钳将其紧紧夹住。
o.使用 26 x 1.5 mm 螺纹接头和惯性锤套件拆下外球笼(A)。
p.从台钳上取下半轴。

q.拆下止动环(A)。
外防尘罩- 拆卸

r.用乙烯树脂胶带(A) 缠绕半轴上的花键,以免损坏外防尘罩(B)。
s.拆下外防尘罩。
t.拆下乙烯树脂胶带。
安装
1.驱动轴 - 组装
内防尘罩- 安装

a.用乙烯树脂胶带(A) 缠绕半轴上的花键,以免损坏内防尘罩(B)。
b.将内防尘罩安装在半轴上。
c.拆除乙烯树脂胶带。
内球笼十字轴- 安装

d.通过将十字轴上和半轴端部所做的标记(B) 对齐,将十字轴(A) 安装到半轴上。
e.安装新卡环(C)。
f.务必将卡环在环槽内转动,确保其完全就位。
内球笼内万向节- 安装

g.用新的内防尘罩组件中的万向节润滑脂涂抹内万向节。
左驱动轴润滑脂数量:160~180g
右驱动轴润滑脂数量:165~185g

h.安装内万向节到驱动轴。
注意!
- 将内万向节和滚柱上所做的标记(A) 对准,将内万向节重新安装到驱动轴上

i.将防尘罩端部 (A) 安装到驱动轴(B) 和内防尘罩万向节(C)上。

j.如图所示调节驱动轴的长度 (A),然后将防尘罩调节到完全压缩和完全伸展的中间位置。
左驱动轴规定长度:543~548mm
右驱动轴规定长度:529~534mm
k.在防尘罩和球节间插入平头螺丝刀,放出防尘罩中多余的空气。
内球笼防尘罩箍带- 安装

l.将防尘罩端部安装到半轴和内球笼上,然后将新的低截面箍带(A) 安装到防尘罩(B) 上。
m.钩住箍带的凸舌部分 (C)。

n.用市售 CV 防尘罩夹钳(30500) (A) 合拢防尘罩箍带的钩子部分,然后钩住箍带的凸舌 (B)。
外防尘罩- 安装

o.用乙烯树脂胶带(A) 缠绕半轴上的花键,以免损坏外防尘罩(B);将新的耳状卡夹箍带(C) 和外球笼安装在半轴上,拆下乙烯树脂胶带。
外万向节- 安装

p.确保检查新止动环的尺寸。
总尺寸(A)直径规格:28.0~28.5mm
导线(B)直径规格:1.8mm
注意!
- 为避免驱动轴和车辆损坏,确保安装新的止动环

q.安装新的止动环(A);将新的外防尘罩组件内含的约35g润滑脂涂抹在外万向节的驱动轴孔中。
注意!
- 如果安装新的外万向节,则已有润滑脂。
r.将驱动轴(B) 插入外万向节(C),直至止动环接近万向节。

s.为了使外万向节完全固定好,拿起传动轴和万向节,从约10cm高度敲向或撞向总成的坚硬表面。
注意!
- 不要使用锤子,因为力量太大会损坏驱动轴。小心不要损坏外万向节的螺纹部分 (A)。

t.检查所做的油漆标记(A) 与外万向节末端 (B) 是否对齐。
注意!
- 不要使用锤子,因为力量太大会损坏驱动轴。小心不要损坏外万向节的螺纹部分 (A)。

u.用外防尘罩组件内剩余的万向节润滑脂涂抹外万向节(A)。
润滑脂数量:110~130g

v.将防尘罩端部 (A) 安装到驱动轴(B) 和外万向节(C) 上。
w.在防尘罩和球节间插入平头螺丝刀,放出防尘罩中多余的空气。

x.如图所示检查驱动轴的长度 (A),然后将防尘罩调节到完全压缩和完全伸展的中间位置。
左驱动轴规定长度:543~548mm
右驱动轴规定长度:529~534mm

y.使用市售防尘罩卡箍钳(Kent-Moore J-35910 或同等产品)(B) 闭合箍带的耳状部分 (A)。

z.检查箍带合拢耳状部分之间的间隙。如果间隙不在标准范围内,更一步合拢箍带的耳状部分。
提示
- 使用同样方法安装另一侧箍带。