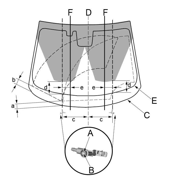
挡风玻璃刮水器臂/喷嘴调节
调节
刮水器臂/喷嘴 - 调节
注意!
- 轻轻地旋转,然后移动各挡风玻璃喷嘴 (A) 的外部,以调节挡风玻璃清洗器喷嘴。
- 不要将工具插入挡风玻璃喷嘴孔 (B),可能会造成挡风玻璃清洗器不正常喷洒。
刮水器臂自动停止位置
-将车辆转至 ON 模式,然后将挡风玻璃刮水器开关转至 ON 再回到 OFF。

-将车辆转至 OFF 模式。
-当挡风玻璃刮水器臂在自动停止位置停止时,确认刮水器臂处于正确的位置:
a:位置距前罩板 (C) 顶部约33.5mm。
b:位置距前罩板 (C) 顶部约28.5mm。
清洗器喷嘴位置
-将车辆转至 ON 模式,然后开启挡风玻璃清洗器开关。如果喷射区域不在标准位置之内,调整挡风玻璃喷嘴:
c: 位置距挡风玻璃中线(D) 约250mm。
d: 位置距下挡风玻璃黑色陶瓷 (E) 顶部约152.5mm。
e.与垂直线 (F) 成 2.3°。